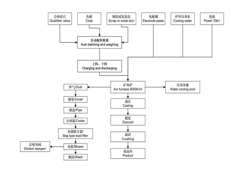
Процесс от сырья до готовой продукции (FeSi) включает в себя полный производственный цикл хранения сырья, приемки топлива, дозирования, смешивания, восстановления и выпуска. Основное оборудование включает в себя ферросилициевую печь, цех переработки сырья, автоматическую систему дозирования, систему подачи, систему циркуляции охлаждающей воды, систему пылеудаления, систему электроснабжения и распределения, систему автоматизации, цех литья ферросилиция и систему обработки готовой продукции. Процесс соответствует требованиям GB/T 2272.
